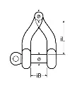
Sakkeli kierretty AISI316, 12 mm
We received your request for quote. We will get back to you as soon as possible.
Failure in product quote request.
- Murtolujuus : 6600 kg
- Materiaalin halkaisija (ø) : 12 mm
- Sisäleveys (iB) : 24 mm
- Sisäpituus (iL) : 66 mm
No Specifications

