Sakkeli kierretty 5mm, AISI316
We received your request for quote. We will get back to you as soon as possible.
Failure in product quote request.
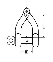
- Murtokuorma : 1000 kg
- Sisämitat (iL) : 27 mm
- Materiaalin halkaisija (ø) : 5 mm
- Sisäleveys (iB) : 10 mm
No Specifications

